LY-ZSFB-D 数字传感器
发布日期:2018-07-24 09:53:33 访问次数:844
汽车衡、轨道衡、轴重秤、地上秤
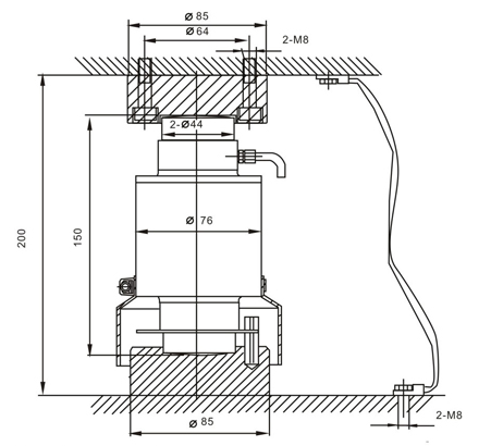
产品尺寸图:
技术参数:
|
额定载荷 |
20,25,30,40,50t |
|
额定输出 |
20000/25000,30000,40000,50000内码 |
|
数字模块有效分辨率数 |
60000码 |
|
数字刷新速率 |
50Hz |
|
通讯波特率 |
9600BPS |
|
综合精度 |
C3 |
|
蠕变(30min) |
±0.03%F.S |
|
温度系数 |
±0.02%F.S/10℃ |
|
工作温度范围 |
-30℃~+70℃ |
|
零点输出 |
±0.02%F.S |
|
安全过载 |
150%F.S |
|
推荐输入电压 |
9~12V DC |
|
输入电压 |
20V DC |
|
防封等级 |
IP68 |
|
信号传输距离 |
1200m |
|
电缆 |
12m(20t),15m(25t),16m(30~50t);¢5mm |
上一产品:LY-ZSGB-D 数字传感器
下一产品:LY-ZSF-A/ZSFY-A称重模块



